Maßhaltigkeitsprüfung von Schleusentoren

In den letzten Jahren haben sich immer wieder Katastrophen größeren Ausmaßes ereignet. Angesichts der Schäden durch diese Katastrophen wächst landesweit das Bewusstsein für die Katastrophenvorsorge. Da die Schäden durch Überschwemmungen, Hochwasser und Tsunamis besonders schwerwiegend sind, drängt der von der Regierung veröffentlichte nationale Rückfallplan darauf, die Leistungsfähigkeit bestehender Schleusentoren, Dämme, Schleusen usw. zu verbessern und zusätzliche Bauten dieser Art zu errichten.
Schleusentore und Dämme sind mit Toren ausgestattet. Die Formen und Maßgenauigkeit dieser wichtigen Teile haben großen Einfluss auf die Leistung. Darüber hinaus ist eine effizientere Produktion als Reaktion auf die steigende Zahl von Installationsfällen dringend erforderlich.
Dieser Abschnitt befasst sich mit der Messung der Formen und Abmessungen der Schleusentore und stellt grundlegende Kenntnisse über Strukturen und Typen, Probleme üblicher Messmethoden und deren Lösungen vor.
- Was ist ein Schleusentor?
- Schleusentoraufbauten
- Arten von Schleusentoren
- Notwendigkeit der Maßhaltigkeitsprüfung von Schleusentoren
- Probleme der Maßhaltigkeitsprüfung von Schleusentoren und ihre Lösungen
- Optimierung der Maßhaltigkeitsprüfung von Schleusentoren
Was ist ein Schleusentor?

Ein Schleusentor ist ein Bauwerk zur Regulierung des Wasserflusses. Sie werden in Flüssen, Kanälen, Bewässerungskanälen, Seen, Stauseen, Häfen und ähnlichen Orten installiert. Sie werden installiert, um Flussdeiche zu trennen und die Menge des fließenden Wassers zu regulieren. Außerdem fungieren sie als Dämme, wenn sie geschlossen sind.
Schleusentore können mit Dämmen und Schleusen verwechselt werden, aber Dämme fungieren nicht als Deiche. Der Begriff Schleuse bezieht sich auch auf ein Schleusentor, das in einen Deich eingelassen ist.
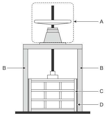
Schleusentoraufbauten
Ein Verständnis der Schleusentoraufbauten und der Rolle der Schleusentorkomponenten ist wichtig für die Maßhaltigkeitsprüfung dieser Komponenten.
Schleusentoraufbauten sind vielfältig und werden für verschiedene Anwendungen genutzt. Das Schiebetor ist ein typisches Schleusentor. Seine Struktur und die Funktionen seiner Teile sind wie folgt.

- A: Hebewerk
- Diese Vorrichtung hebt und senkt das Tor. Sie ist mit einer Gewindestange, der so genannten Spindel, mit dem Tor verbunden. Dadurch kann das Tor durch Drehen des Hebewerkgriffs geöffnet/geschlossen werden. Es gibt flache Hebewerke, Kegelradgetriebe, Schneckengetriebe und andere derartige Öffnungs-/Schließvorrichtungen. Einige arbeiten mit Hydraulik, andere mit Elektromotoren.
- B: Toranschläge
- Diese Teile dienen als Schienen für das Tor. Sie sind aus H-Trägern und gebogenen Materialien konstruiert. Bei großen Schleusentoren, die in Dämmen und ähnlichen Bauwerken installiert werden, werden die Toranschläge in Beton eingelassen.
- C: Tor
-

Das Tor stoppt den Wasserdurchfluss. Es besteht aus den Hauptträgern, die den Rahmen bilden (a), den Randträgern (b) und den Hautplatten, die das Wasser zurückhalten (c).
- D: wasserdichtes Gummi
- Dieses Teil wird zwischen dem Tor und dem Toranschlag installiert und spielt die Rolle einer Dichtung, die die Wasserdichtigkeit der Struktur erhöht. Es gibt P-förmige, flache und verschiedene andere Arten von wasserdichtem Gummi.
Arten von Schleusentoren
Es gibt verschiedene Möglichkeiten, das Tor einer Schleuse zu öffnen bzw. zu schließen. Einige werden mit einem Flaschenzug geöffnet, andere mit Scharnieren, die als Drehpunkt dienen. Die Methoden werden je nach Größe und erforderlichen Funktionen des Schleusentors selektiv eingesetzt. Dieser Abschnitt erläutert typische Schleusentore, die zu den beiden oben beschriebenen Typen gehören.
Typen, die ein Hebewerk verwenden
Das Tor wird mit einer Vorrichtung, einem sogenannten Hebewerk, angehoben und abgesenkt, um den Wasserfluss zu steuern.
Schiebetor (Schleusentor)
Dieses Tor steuert den Wasserdurchfluss durch Heben und Senken des Tors mit Hilfe eines Hebewerks, das an der Oberseite des Tors angebracht ist.
Dies ist die häufigste Schleusentorform. Das Tor ist aus Materialien wie Stahl, Edelstahl und Aluminiumlegierungen gefertigt.
Rollentor
Hierbei handelt es sich um ein Schiebetor mit Rollen, die zwischen dem Tor und den Toranschlägen installiert sind.
Bei großen Toren und wenn das Tor unter Hochwasser steht, ist aufgrund des Gewichts und der Reibung zwischen Tor und Toranschlägen ein großer Kraftaufwand erforderlich, um das Tor anzuheben. Bei einem Rolltor sorgt der Einbau von Rollen zwischen dem Tor und den Türstoppern für eine geringe Reibung, sodass das Tor mit einem geringen Kraftaufwand angehoben werden kann.
Typen, die Scharniere als Drehpunkt verwenden
Das Tor ist auf einer Seite mit Scharnieren befestigt, die als Drehpunkt zum Öffnen/Schließen des Tors dienen und so den Wasserdurchfluss steuern.
Klappentor
Dieses Tor soll verhindern, dass Wasser von außen nach hinten fließt. Es funktioniert über die Unterschiede im Wasserstand vor und hinter dem Tor, so dass keine Öffnungs-/Schließvorrichtung erforderlich ist. Daher kann dieses Tor ohne menschliche Aufsicht und ohne Antriebskraft arbeiten. Das Tor ist aus Materialien wie Stahl, Edelstahl und Aluminiumlegierungen gefertigt.
Drehtor
Diese Tore werden als Gezeitenschutztore (wasserdicht) an den Ein- und Ausgängen von Produktionsstätten und Deichen an Flüssen und Stränden eingesetzt. Durch Drehen der Tür um die Scharniere an der Seite öffnen/schließen Sie den Wasserkanal. Das Tor ist aus Materialien wie Stahl, Edelstahl und Aluminiumlegierungen gefertigt.
Notwendigkeit der Maßhaltigkeitsprüfung von Schleusentoren
Zusätzlich zu ihren wassersperrenden und wirtschaftlichen Eigenschaften müssen die Schleusentore auch bei Katastrophen und anderen Notfällen schnell funktionieren. Außerdem werden sie nach der Installation über einen langen Zeitraum hinweg genutzt, sodass ihre Langlebigkeit und Wasserdichtigkeit ebenfalls wichtig sind. Schleusentore sind wichtige Teile, die den Wasserfluss direkt einschränken. Die Form und die Maßgenauigkeit dieser Teile haben daher großen Einfluss auf die Funktionsfähigkeit, Langlebigkeit und Wasserdichtigkeit.
Die Tore bestehen aus Hauptträgern, Randträgern, Hautplatten und wasserdichten Gummis. Während des Herstellungsprozesses werden die Hauptträger, Randträger und Außenplatten vorübergehend zusammengebaut und die Abmessungen gemessen, um die Montagegenauigkeit zu überprüfen.
Anschließend werden die Teile zusammengeschweißt und die Maßhaltigkeit des fertigen Produkts überprüft. Während des Schweißens kann es zu Dehnungen kommen. Daher werden die Abmessungen jedes Teils nach dem Schweißen gemessen. Alle Teile, die außerhalb der Toleranzen liegen, werden entlastet. Dann werden die Maße überprüft, um sicherzustellen, dass sie innerhalb der Toleranzen liegen.
Auf diese Weise ist es notwendig, die Messungen während der verschiedenen Herstellungsprozesse der Schleusentore mehrfach zu wiederholen. Daher müssen die verwendeten Systeme zur Maßhaltigkeitsprüfung nicht nur genau sein, sondern auch effizient arbeiten.
Probleme der Maßhaltigkeitsprüfung von Schleusentoren und ihre Lösungen

Die Genauigkeit ist nicht nur bei der Messung der Abmessungen eines fertigen Schleusentors, sondern auch bei dessen Wartung zu bestätigen. Es muss auch die Montagegenauigkeit bei der provisorischen Montage der Schleusentore zu bestätigen. Bisher wurden diese Messungen mit Transit-Theodoliten, Maßbändern, Messschiebern und ähnlichen Werkzeugen durchgeführt. Problematisch sind jedoch die Schwankungen der Messwerte von Messgerät zu Messgerät, die Schwierigkeit, Dehnungstendenzen zu verstehen, und die lange Dauer der Messung.
Um diese Probleme zu lösen, werden in immer mehr Fällen die neuesten 3D-Koordinatenmessgeräte eingesetzt. Das Mobile 3D-Koordinatenmessgerät der Modellreihe WM von KEYENCE ermöglicht eine hochpräzise Maßhaltigkeitsprüfung von großen Schleusentoren durch eine einzige Person mit dem kabellosen Messtaster. Selbst vertiefte Bereiche von Werkstücken können ohne Bewegungseinschränkungen innerhalb des Messbereichs erreicht werden, was Messungen durch einfaches Antasten des Messobjekts mit dem kabellosen Messtaster ermöglicht. Im Gegensatz zu Messungen mit Messinstrumenten wie Transit-Theodoliten, Maßbändern und Messschiebern variieren die Ergebnisse nicht, was quantitative Messungen ermöglicht.


Messung der Schweißverformung der Schleusentore und der Ebenheit der Hautplatte
Selbst kleine Schleusentore verfügen über Torflächen von bis zu 10 m2. Großflächige Schleusentore verfügen über Torflächen von bis zu 50 m2. Für die Messung mit einem Maßband oder einem Messschieber sind daher mindestens zwei Personen erforderlich.
Die gemessenen Werte variieren jedoch je nach Winkel und Kraft, mit denen ein Maßband oder ein Messschieber auf das Messobjekt aufgebracht werden, was zu abweichenden Messwerten der verschiedenen Bediener führt. Außerdem müssen bei der Prüfung der Schweißnahtverformung die Messungen jedes Mal wiederholt werden, wenn die Verformung beseitigt wurde, was zu einer langen Messdauer führt.
Die Modellreihe WM ermöglicht Messungen durch einfaches Antasten der Messpunkte mit dem Messtaster. Die Gesamtlänge, die Gesamtbreite und die diagonale Länge von großflächigen Schleusentoren sowie die Ebenheit ihrer Hautplatten können durch einfaches Antasten mit dem Messtaster gemessen werden. Dehnungen können mit Farbkarten angezeigt werden, sodass die Abmessungen genau und einfach korrigiert werden können.
Eine schnelle Messung durch eine einzige Person, ohne dass die Messwerte der jeweiligen Bediener unterschiedlich ausfallen.


Maßhaltigkeitsprüfung nach der provisorischen Montage
Bei der provisorischen Montage – bei der die Montagegenauigkeit der Hauptträger, Randträger und Außenplatten überprüft wird – werden die Abstände zwischen den Trägern und die Abstände zwischen den Teilen gemessen, um zu prüfen, ob die tatsächliche Montage möglich ist. Beim Verschweißen der Haupt- und Randträger werden sie auf schweißbedingte Belastungen geprüft. Die Hautplatten werden auf Verzug und Formunterschiede geprüft.
Für die Messungen der Haupt- und Randträger, die einige Meter lang sind, sind mehrere Arbeiter erforderlich, und Messungen mit Maßbändern sind schwer zu quantifizieren. Außerdem ist es nicht möglich, die Ebenheit der Hautplatte, die 3D-Koordinatenpositionen und ähnliches mit Handmessmitteln wie Maßbändern und Messschiebern zu messen, sodass ein Laser-Tracker oder ein anderes 3D-Koordinatenmessgerät verwendet werden muss. 3D-Koordinatenmessgeräte können komplexe Messungen präzise durchführen, müssen aber unter Umständen von erfahrenen Technikern bedient werden. Daher müssen Messgeräte und Messsysteme je nach Anwendung und Kosten flexibel ausgewählt werden.
Mit der Modellreihe WM ist es möglich, dass eine einzelne Person quantitative Messungen durch einfaches Antasten der Messpunkte mit dem Messtaster durchführen kann. Durch einfaches Antasten des Messobjekts mit dem Messtaster kann der Bediener nicht nur die durch das Schweißen der Träger von großen Schleusentoren verursachte Verformung und Dehnung messen, sondern auch die Ebenheit der Außenplatten. Es können sogar 3D-Positionskoordinaten gemessen werden. Außerdem können Abweichungen von den geplanten Toleranzen sofort beurteilt werden.

Optimierung der Maßhaltigkeitsprüfung von Schleusentoren
Die Modellreihe WM ermöglicht die genaue Messung der Abmessungen und Formen von Schleusentoren einer einzelnen Person durch einfaches Antasten der Messobjekte mit dem kabellosen Messtaster. Zusätzlich zu den oben vorgestellten Merkmalen bietet die Modellreihe WM zahlreiche Vorteile, die im Folgenden aufgeführt sind.

- Hochpräzise Messung über einen großen Bereich
- Ein großer Messbereich bis zu 25 m kann mit hoher Genauigkeit gemessen werden. Die Modellreihe WM ist mit dem Navigationsmessmodus ausgestattet, der die Messung am selben Punkt nach einem gespeicherten Messverfahren ermöglicht, sodass jeder die gleichen Messdaten erhalten kann.

- Das tragbare Gehäuse kann vor Ort platziert werden
- Die Haupteinheit kann auf dem Rollwagen bewegt werden. Die Modellreihe WM kann auf die Baustelle gebracht werden und misst umgehend den Stand der Arbeiten.

- Leicht verständliche Schnittstelle
- 3D-Koordinatenmessgeräte arbeiten oft mit komplizierten und ungewohnten Befehlen. Die Modellreihe WM bietet eine intuitive und für jeden leicht verständliche Bedienung mit Bildern und Symbolen.

- Prüfberichte können mit Fotos erstellt werden
- Prüfberichte können automatisch mit Fotos erstellt werden, die es Ihnen ermöglichen, Messpunkte auf einen Blick zu verstehen. Mit diesen Prüfberichten können Sie nicht nur das Vertrauen Ihrer Geschäftspartner gewinnen, sondern auch Messergebnisse digital speichern, was zu einer höheren Effizienz der internen Datenverwaltung führt.
Die Modellreihe WM bietet nicht nur leistungsstarke Unterstützung für Form- und Maßhaltigkeitsprüfungen von Schleusentoren in Produktionsstätten, sondern auch für die Datenanalyse und die Erstellung von Prüfberichten. Sie verbessert die Effizienz der Herstellung von Schleusentoren und der für ihre Installation und Wartung erforderlichen Arbeiten erheblich.




