Betrachtung und Messung beim Kugelstrahlen
Das Kugelstrahlen ist eine Bearbeitungsmethode, bei der Strahlmittel (kleine Sandstücke oder kleine Stahl- oder Gusseisenkugeln) mit hoher Geschwindigkeit auf ein Objekt gespritzt werden. Diese tragen die Oberfläche des Objekts ab, indem sie kleine Erhebungen und Vertiefungen darauf erzeugen. Polieren führt zu einer glatten Oberfläche, Kugelstrahlen hingegen zu einer rauen Oberfläche. Dieser Abschnitt gibt einen Überblick über das Kugelstrahlen und stellt Beispiele für dessen Betrachtung und Messung mit einem Digitalmikroskop vor.

- Was versteht man unter Kugelstrahlen?
- Objekt- und Medienmaterialien
- Ziele und Auswirkungen des Kugelstrahlens
- Beispiele für die Betrachtung und Messung beim Kugelstrahlen mit einem Digitalmikroskop
Was versteht man unter Kugelstrahlen?
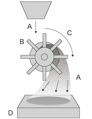
Kugelstrahlen ist ein Verfahren, bei dem kleine Stahl- oder Gusseisenkugeln (Schrot) mit Hilfe eines rotierenden Laufrads schnell aufgespritzt (gestrahlt) werden. Die Kugeln werden mit hoher Geschwindigkeit aus dem Laufrad auf das Objekt geschleudert und durch die Zentrifugalkraft gleichmäßig verteilt. Eine vergleichbare Methode, bei der das Medium mit Druckluft versprüht wird, wird als Luftstrahlen oder Sandstrahlen bezeichnet.
Kugelstrahlen

Ein Motor versetzt das Laufrad in Rotation und verteilt das Medium durch die Zentrifugalkraft. Da kein Kompressor erforderlich ist, hat diese Methode einen geringeren Energie- und Kostenbedarf. Allerdings ist die Bearbeitungskraft nicht leicht einzustellen, was eine hochpräzise Bearbeitung erschwert.
Luftstrahlen (Sandstrahlen)

E: Düse, F: Druckluft + Medium, G: Objekt
Das Medium wird durch die Druckluft aus dem Kompressor versprüht. Da der Druck leicht eingestellt werden kann, ermöglicht diese Methode eine sehr genaue Bearbeitung.
Objekt- und Medienmaterialien
In diesem Abschnitt werden die wichtigsten Materialien für Objekte und Medien vorgestellt.
- Objekte
- Metall, Keramik, Kunststoff, Glas und Gummi
- Medien
- Kleine Stahl- oder Gusseisenkugeln (Schrot), Sand, Edelstahl, Aluminiumoxid, Kupfer, Glas, Kunststoff, Plastik und Walnusspulver
Ziele und Auswirkungen des Kugelstrahlens
- Entfernung von Rost und Schmutz
- Rostentfernung von Metalloberflächen, Sandentfernung von Druckgussteilen, Entfernung von Schweißspritzern und von Beschichtungen/Ölflecken.
- Entgratung
- Entgratung nach dem Pressen oder Bearbeiten.
- Erhebungen und Vertiefungen erzeugen
- Verbesserte Haftung von Beschichtungen, Plattierungen, Verklebungen usw.
Satinierung verhindert Reflexionen und verbessert die Ölaufnahme, die Reibungskraft und die Wärmeableitung.
- Strahlverfestigung (Shot Peening)
- Anpassung der Druckeigenspannung, um die Verschleißfestigkeit, die Widerstandsfähigkeit gegen Absplitterungen und die Ermüdungsfestigkeit zu verbessern.
Beispiele für die Betrachtung und Messung beim Kugelstrahlen mit einem Digitalmikroskop
Dies sind die neuesten Beispiele für die Betrachtung und Messung beim Kugelstrahlen mit dem Digitalmikroskop der Modellreihe VHX von KEYENCE.









