Maßhaltigkeitsprüfung von großformatigen Quarzglasprodukten

Quarzglas ist gewöhnlichem Glas in vielerlei Hinsicht in Bezug auf beispielsweise seine Lichtdurchlässigkeit, Hitzebeständigkeit und Korrosionsbeständigkeit überlegen. Es wird häufig in optischen Komponenten, Halbleitern und Geräten zur Halbleiterherstellung verwendet.
Die Abmessungen von Produkten aus Quarzglas werden in der Regel mit taktilen Messgeräten wie Handmessmitteln und Portal-Koordinatenmessgeräten (KMG) gemessen, wobei das verwendete Gerät je nach dem zu messenden Punkt ausgewählt wird.
In immer mehr Fällen reichen diese Messungen nicht mehr aus, um die Anforderungen, wie beispielsweise die Reduzierung der Fertigungs- und Installationszeit bei gleichzeitiger Einhaltung der Maßgenauigkeit, zu erfüllen.
In diesem Abschnitt werden grundlegende Kenntnisse über Quarzglas erläutert. Außerdem werden verschiedene Beispiele für die Optimierung dieser Messungen vorgestellt, wobei der Schwerpunkt auf der Notwendigkeit von Maßhaltigkeitsprüfungen, Vorsichtsmaßnahmen bei der Messung und Unterschieden in der Effizienz von Messungen aufgrund von Unterschieden bei den Messgeräten liegt.
- Was ist Quarzglas?
- Notwendigkeit der Maßhaltigkeitsprüfung von großformatigem Quarzglas
- Maßhaltigkeitsprüfung von großformatigen Quarzglasprodukten
- Probleme der Maßhaltigkeitsprüfung von Quarzglasprodukten und ihre Lösungen
- Optimierung der Maßhaltigkeitsprüfung von großformatigen Quarzglasprodukten
Was ist Quarzglas?

Quarzglas ist eine Art von Glas, das aus hochreinen Kristallen (Siliziumdioxid: SiO2) hergestellt wird. Im Vergleich zu gewöhnlichem Glas (Kalk-Natron-Glas) enthält Quarzglas weitaus weniger Verunreinigungen wie beispielsweise Metall, sodass es bessere Lichtdurchlässigkeitseigenschaften und Hitzebeständigkeit aufweist. Dank dieser Eigenschaften wird Quarzglas als Material für optische Teile wie Linsen und Prismen, Teile von Halbleiterfertigungsgeräten, Halbleiter und Fenster von Hochtemperaturkammern verwendet.
Unterschiede zu gewöhnlichem Glas
Gewöhnliches Glas wird aus Sand, dem so genannten Quarzsand, hergestellt und enthält verschiedene Verunreinigungen. Quarzglas wird aus veredelten oder chemisch synthetisierten Kristallen hergestellt. Quarzglas zeichnet sich durch seine sehr hohe Lichtdurchlässigkeit aus, da es nur wenige Verunreinigungen enthält. Es kann auch schnellen Temperaturschwankungen standhalten, da es eine hohe Hitzebeständigkeit und einen sehr niedrigen Wärmeausdehnungskoeffizienten aufweist.
Art von Quarzglas
Quarzglas lässt sich je nach Herstellungsverfahren grob in geschmolzenes Quarzglas und synthetisches Quarzglas unterteilen.
Geschmolzenes Quarzglas
Geschmolzenes Quarzglas wird durch Schmelzen von Kristallpulver mit einer Knallgasflamme oder einem Elektroofen und anschließendes Abkühlen hergestellt. Die Kristalle, die für Quarzglas verwendet werden, enthalten viele Metallverunreinigungen, die jedoch durch Läuterung entfernt werden können, um eine hohe Transparenz zu erzielen. Geschmolzenes Quarzglas kann einfach und kostengünstiger hergestellt werden als synthetisches Quarzglas.
Synthetisches Quarzglas
Synthetisches Quarzglas verwendet Kristalle mit wenigen Verunreinigungen als Rohstoff und wird durch chemische Synthese hergestellt, z. B. durch Hydrolyse von Silan mit Wasserstoff und Sauerstoff. Synthetisches Quarzglas hat eine hohe Lichtdurchlässigkeit über ein breiteres Wellenlängenband als Quarzglas. Allerdings sind seine Herstellungskosten tendenziell höher als die von Quarzglas, da synthetisches Quarzglas in einer sauberen Umgebung verarbeitet werden muss.
Anwendungen aus Quarzglas
Quarzglas, das eine hohe Hitzebeständigkeit und Lichtdurchlässigkeit aufweist, wird hauptsächlich für elektrische und elektronische Geräte verwendet.
Durch seine hohe Hitzebeständigkeit ist Quarzglas für Teile geeignet, die eine hohe Thermostabilität aufweisen müssen, um ihre Form zu behalten. Daher wird es in Ofenrohren, Booten, Lampen und anderen Teilen verwendet, die in Hochtemperaturprozessen wie der Wärmebehandlung bei der Halbleiterherstellung eingesetzt werden. Geschmolzenes Quarzglas wird auch für Vakuumgießer, Vakuumkammern und ähnliche Geräte verwendet.
Synthetisches Quarzglas verfügt über eine hohe Homogenität und Lichtdurchlässigkeit und wird daher für optische Teile verwendet, z. B. für Linsen und Prismen, die auf Belichtungsgeräten für die Halbleiter- oder Flüssigkristallherstellung montiert werden, für Fotomasken zur Herstellung von Lichtleitern, Halbleitern und Flüssigkristallanzeigen sowie für andere Teile, für die diese Eigenschaften erforderlich ist. Synthetisches Quarzglas hat auch eine hohe Chemikalienbeständigkeit, einschließlich Korrosionsbeständigkeit, mit Ausnahme einiger Lösungen und Gase wie Flusssäure, Phosphorsäure, Alkalien und Alkalimetallverbindungen. Das macht es zu einem unverzichtbaren Material für Teile, die in Halbleiterherstellungsprozessen verwendet werden, die Chemikalien einsetzen.
Notwendigkeit der Maßhaltigkeitsprüfung von großformatigem Quarzglas
Quarzglas wird für viele elektrische und elektronische Geräte sowie für Produktionsanlagen verwendet, bei denen es sich um Präzisionskomponenten handelt, die eine sehr hohe Maßgenauigkeit erfordern. Selbst subtile Fehler bei der Herstellung können direkt zu Produktmängeln führen.
Beispielsweise lagern Boote, die bei der Halbleiterherstellung für die Batch-Beschichtung und das Batch-Ätzen verwendet werden, Wafer auf ihren Halterungen. Ein paar Dutzend Wafer können auf einem Boot gehalten werden. Die Pitch-Genauigkeit der Wafer, die es hält, beeinflusst die Prozessqualität. Wenn die Maßgenauigkeit des Außendurchmessers von Halterungsteilen und die Montagegenauigkeit von Booten gering sind, variiert das Wafer-Intervall. Ungeeignete Intervalle verhindern eine korrekte Verarbeitung und führen zu fehlerhaften Wafern. Boote müssen bei der Herstellung durch Messung ihrer Abmessungen streng kontrolliert werden. Bei Booten, die in der Wärmebehandlung eingesetzt werden, ist die Maßhaltigkeitsprüfung auch bei der regelmäßigen Wartung erforderlich, da sie durch die Hitze verformt werden können.
Maßhaltigkeitsprüfung von großformatigen Quarzglasprodukten
Typische Quarzglasprodukte in großem Maßstab sind Boote und Rohre, die in der Halbleiterherstellung verwendet werden, sowie Fotomasken für die Herstellung von Flüssigkristallanzeigen. In diesem Abschnitt wird die Maßhaltigkeitsprüfung von Quarzbooten aus Quarzglas als Beispiel erläutert.
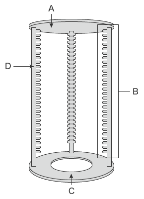
Messpunkt
Für die Maßhaltigkeitsprüfung von Quarzbooten ist es wichtig, die Ebenheit der oberen und unteren Platten und die Rechtwinkligkeit der Platten zu den sie verbindenden Säulen zu messen. Eine unzureichende Ebenheit oder Rechtwinkligkeit kann zu einer Fehlausrichtung zwischen den Mittelpunkten der oberen und unteren Platte führen, die ebenfalls durch eine Maßhaltigkeitsprüfung überprüft werden muss. Zudem muss die Breite der Wafer-Halter gemessen werden. Dies sind wichtige Inspektionspunkte nicht nur während der Herstellung, sondern auch während der regelmäßigen Wartung, da ihre Genauigkeit direkt zur Prozesssicherheit führt.

- A
- Obere Platte
- B
- Halterungen
- C
- Untere Platte
- D
- Stütze
Probleme der Maßhaltigkeitsprüfung von Quarzglasprodukten und ihre Lösungen
Die Maßhaltigkeit von Quarzglasprodukten muss nicht nur während der Herstellung, sondern auch bei der regelmäßigen Wartung nach der Installation überprüft werden. Quarzglas hat eine hohe Lichtdurchlässigkeit, was die Messung seiner Abmessungen mit Messgeräten, die Laser oder LED-Licht verwenden, erschwert. Aus diesem Grund werden für die Messung von Quarzglas taktile Messgeräte verwendet. Die Messung mit Handmessmitteln, wie Messuhren und Winkellehren, ist jedoch nicht genau genug, sodass sich die Messung der Form- und Lagetoleranzen als schwierig erweist. Wenn ein Portal-Koordinatenmessgerät (KMG) verwendet wird, kann die Messung nicht zum gewünschten Zeitpunkt durchgeführt werden, da empfindliche Quarzglasprodukte in einen Messraum transportiert werden müssen. Aufgrund der für ihre Bedienung erforderlichen Fähigkeiten können diese Instrumente nur von einer begrenzten Anzahl von Anwendern verwendet werden.
Es gibt viele Fälle, in denen Probleme bei der Maßhaltigkeitsprüfung von Quarzglasprodukten zu Verzögerungen bei der Auslieferung und beim Anlaufen des Fertigungsprozesses sowie zu Prozessausfällen nach dem Einbau in die Fertigungslinien führen.
Um diese Probleme zu lösen, werden in immer mehr Fällen die neuesten 3D-Koordinatenmessgeräte (KMG) eingesetzt.
Das Mobile 3D-Koordinatenmessgerät der Modellreihe WM von KEYENCE ermöglicht die hochpräzise Maßhaltigkeitsprüfung von Quarzglasprodukten mit dem kabellosen Messtaster. Selbst vertiefte Bereiche von Produkten können ohne Bewegungseinschränkungen innerhalb des Messbereichs erreicht werden, was eine Messung durch eine einzelne Person ermöglicht, indem das Messobjekt einfach mit dem Messtaster angetastet wird. Im Gegensatz zu Messungen mit Handmessmitteln wie Messuhren und Winkelmessern variieren die Ergebnisse nicht, was eine quantitative Messung ermöglicht. Die Modellreihe WM ist außerdem mit Funktionen ausgestattet, die Messdaten mit CAD-Daten vergleichen und CAD-Daten aus Messdaten erstellen können.


Maßhaltigkeitsprüfung von Quarzbooten und Quarzrohren
Wichtige Elemente der Maßhaltigkeitsprüfung für Quarzboote sind die Breite der Halter, die Ebenheit der oberen und unteren Platten und ihre Rechtwinkligkeit zu den Pfeilern. Bei Quarzrohren, die Quarzboote abdecken, sind wichtige Messelemente die Zylindrizität und der Abstand zwischen der Zylindermitte und der Gasrohrmitte sowie deren Innen- und Außendurchmesser.
Die Prozesszuverlässigkeit wird vor allem dann beeinträchtigt, wenn der Innen- und Außendurchmesser, die Zylindrizität oder der Abstand zwischen der Zylindermitte und der Gasrohrmitte bei Quarzrohren außerhalb der Toleranz liegen, weil die Boote nicht die richtige Anzahl von Wafern aufnehmen oder ein hohes Vakuum erreichen können.
Handwerkzeuge sind für die Messung nicht genau genug, denn die Abmessungen der Teile von Quarzbooten und Quarzrohren müssen innerhalb von Toleranzen von 0,1 mm genau sein. Die gemessenen Werte können von Messgerät zu Messgerät variieren und es ist schwierig, Verzug und Formunterschiede in Werte wie Ebenheit umzurechnen. Beim Einsatz von Portal-Koordinatenmessgeräten (KMG) ist die Anzahl der Personen für die Durchführung einer Messung begrenzt und der Transport der Messobjekte in einen Messraum stellt einen großen Arbeitsaufwand dar.
Die Modellreihe WM ermöglicht eine einfache Maßhaltigkeitsprüfung von Quarzbooten und Quarzrohren durch einfaches Antasten mit dem kabellosen Messtaster. Im Gegensatz zu Handmessmitteln variieren die Messergebnisse nicht, was eine quantitative Messung ermöglicht. Es ist für eine einzelne Person möglich, Form- und Lagetoleranzen von Quarzrohren zu messen, wie z. B. Ebenheit, Rundheit und Zylindrizität, sowie deren Innen- und Außendurchmesser und den Abstand zwischen der Zylindermitte und der Gasrohrmitte. Die gemessenen Elemente können in Werte umgewandelt werden. Zudem kann der Abstand zwischen virtuellen Linien ebenfalls visualisiert werden.
Darüber hinaus kann die Modellreihe WM dank ihrer Mobilität in die Fertigung und an den Aufstellungsort gebracht werden und dort sofort die Messungen vornehmen. Die Messobjekte können in der Fertigungslinie gemessen werden, sodass sie nicht entnommen und zurückgeschickt werden müssen, wodurch das Risiko einer Verformung ausgeschlossen wird.
Zudem können Messergebnisse automatisch in Prüfberichte verwandelt werden. Die Prüfberichte können zur besseren Verständlichkeit mit Fotos versehen werden. Die Berichte verwenden das Rich Text Format (RTF), sodass sie leicht bearbeitet werden können.



Optimierung der Maßhaltigkeitsprüfung von großformatigen Quarzglasprodukten
Die Modellreihe WM ermöglicht die Messung von Quarzglasprodukten durch eine einzelne Person und durch einfaches Anbringen des kabellosen Messtasters am Messpunkt. Zusätzlich zu den oben vorgestellten Leistungsmerkmalen bietet die Modellreihe WM folgende Vorteile:

- Hochpräzise Messung über einen großen Bereich
- Ein großer Messbereich bis zu 25 m kann mit hoher Genauigkeit gemessen werden. Die Modellreihe WM ist mit dem Navigationsmessmodus ausgestattet, der die Messung am selben Punkt nach einem gespeicherten Messverfahren ermöglicht, sodass jeder die gleichen Messdaten erhalten kann.

- Prüfung mit 3D-CAD-Daten
- Es sind Vergleichsmessungen zwischen einem zu messenden Teil und einer aus einer 3D-CAD-Datei importierten Form möglich. Die Abweichungen vom Bauteil zur 3D-CAD-Zeichnung können als Fehlfarbenvergleich dargestellt werden. Dies ist hilfreich bei Messungen von Freiformflächen und Profiltoleranzen.

- Leicht verständliche Schnittstelle
- 3D-Koordinatenmessgeräte arbeiten oft mit komplizierten und ungewohnten Befehlen. Die Modellreihe WM bietet eine intuitive Bedienung mit Bildern und Symbolen, wodurch das System leicht bedient werden kann.

- Messergebnisse können als 3D-Modelle ausgegeben werden.
- Gemessene Elemente können als STEP/IGES-Datei exportiert werden. 3D-CAD-Daten können auf der Grundlage der Messergebnisse eines tatsächlichen Produkts erstellt werden, auch wenn keine Zeichnung vorhanden ist.
Die Modellreihe WM unterstützt in hohem Maße die Nachbearbeitung von Messungen, wie z. B. den Vergleich mit 3D-CAD-Daten und die Erstellung von Prüfberichten, sowie die Maßhaltigkeitsprüfung von großformatigen Quarzglasprodukten. Sie verbessert die Effizienz der Herstellung von großen Quarzglasprodukten, deren Maßkontrolle nach der Montage und die für das Qualitätsmanagement unerlässlichen Arbeiten, erheblich.




